CAPABILITIEs
Here you will find more detailed information about some of our skills and capabilities and how we can help within each of the key project phases:
- Concepts and Feasibility
- Preliminary and detail Design
- Calculations and Analysis
- Documentation and Manufacture
- Inspection and Testing
- Support and Problem Solving
CONCEPTS and feasibility
actuation and mechanism concepts
We have extensive experience in preparing concepts and ideas for new products to meet design briefs. We can help guide you through the many different gear and actuation technologies available and help define the system architecture most appropriate to what you are aiming to achieve.
Our experience in analysing gear systems provides a unique insight into how a whole system works, and importantly how they may fail. This experience allows us to identify the key elements of a design that are critical to its success and carry out preliminary analysis (otherwise known at ‘back of the envelope’ calculations) to ensure that a concept can be developed with confidence towards a real, working product.
Typical scenarios could be:
- Can we transmit a certain amount of power at this ratio, within this space?
- How large do the bearings need to be to support the load?
- What ratio is required to provide a torque and speed characteristic for a certain motor and load?



design
gear system design
Beyond the gears themselves, most applications require shafts, bearings, housings and other components to provide a complete product. We have extensive experience in analysing bearing loads, choosing bearings, and specifying how bearings are configured to ensure a long product life.
Housing design is also of great importance, as the housing will typically provide structural support for the gears and define the running tolerances throughout the operating conditions, as well as provide protection from the operating environment.
We can help you select and integrate motors, encoders and other system components as necessary to complete your product.
We will also support your project phase-gate process with design reviews and documentation as necessary.



ANALYSIS 1
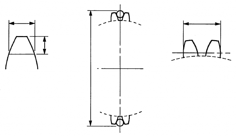
gear geometry
A fundamental understanding of gear geometry underpins everything we do. From routine designs to innovative new gear concepts, this core knowledge and understanding allows us to analyse exactly how a set of gears operate and how best to predict their performance.
Some of the gear aspects we can help with include:
- Involute profiles.
- Addendum and dedendum coefficients and values, root radii, pressure angles – nominal and working.
- Addendum modification coefficients, tooth undercutting, balancing stresses in a design, recess action gearing.
- Internal gearing and various potential issues associated with internal teeth such as trimming interference or trochoidal interference.
- Contact ratios, sliding velocities, radius of tooth curvature, line of action, approach and recess distances.
- The effects of manufacturing tolerances on mesh conditions.
- Inspection dimensions, size over pin (or rollers), span size calculations.
- Backlash – how to minimise and/or control backlash in a gear train, and how it might change in service.
analysis 2
gear life
Designed correctly, gears should last many years and sometimes indefinitely, however there are many potential reasons why this might not be the case in reality.
Standard gear rating procedures such as ISO 6336 or AGMA 2101 only address two key fatigue failure modes, i.e. pitting (surface fatigue) and tooth fracture from bending (root bending fatigue). In actuators and mechanisms, static strength of gears is also often important due to overloads and the desire to make the parts as small and light as possible.
Most actuator gear failures however results from wear or some other less predictable way such as debris ingress, high vibration, substandard materials or manufacture, or inadequate lubrication. Most of these can be avoided through good design practise and with our experience, we can minimise the risk of any of these types of failure occurring.





manufacture
documentation
We naturally produce drawings and documentation to allow a design to be manufactured. This includes fully dimensioned and toleranced production drawings for all parts, and related specifications that may be necessary such as materials, heat treatment, and protective coatings.
We are happy to work with a variety of potential suppliers to ensure that gear details are specified in line with available capability and to recognised standards.
We can also help manage any feedback from the manufacturer to ensure that as prototypes are developed, the production drawings are kept up to date with changes and improvements that may occur.
inspection
Gear inspection
Once a gear is manufactured, it is obviously important to verify that it is to the correct specification. With motion control applications and actuators, this often requires specialist techniques that are not common for many general gear manufacturers. We can help define the best test parameters and interpret what the results mean for your application.



testing
Gear system testing
Type approval (verification) testing and production acceptance testing need different approaches and we are happy to help provide definition for both these activities.
support
through life support and problem solving
Even once a product is in production, various problems can occur and we are happy to provide the necessary support.
This could be a problem with a particular batch of components, or something that is not working as expected, so we can investigate what the problem is and recommend how it can be sorted out.
We can also help reverse-engineer an existing product that contains gears and support you in creating new drawings of pre-existing parts.




